1. INTRODUCCIÓN
Los combustibles fósiles tienen impactos negativos sobre el medio ambiente, esto motiva a los científicos a explorar recursos energéticos sostenibles y de menor costo. Entre los recursos energéticos explorados, la energía hidroeléctrica es una alternativa confiable, limpia, eficiente y rentable [15]. La energía hidroeléctrica tiene un gran potencial para sustituir a la energía fósil [19], otras de las ventajas de este tipo de energía es que minimiza las emisiones de gases de efecto invernadero y otros efectos ambientales negativos, y como fuente de energía renovable es el principal contribuyente a esta industria, y se prevé que su participación global se duplique para el año 2035, representando el 30 % de toda la producción de electricidad [17].
La central hidroeléctrica está constituida por diversas instalaciones y equipos, y uno de los más importantes entre estos es la turbina hidráulica, quien puede ser de acción o de reacción. Las turbinas de acción son máquinas sencillas y de bajo costo, y una de las más populares es la turbina tipo Pelton de flujo radial, que se utiliza en elevadas alturas y bajos caudales [9]. En estas turbinas, el agua suele salir de uno o más inyectores de alta presión en forma de chorro, lo cual impacta a un conjunto de cucharas unido a un rodete; este proceso es el responsable de la conversión de casi toda la energía cinética del agua en energía mecánica mediante un cambio de impulso, esto a su vez es utilizado para producir energía eléctrica a través de un generador [4,2].
El generador eléctrico se acopla al eje rotatorio de la turbina Pelton. En los equipos a pequeñas escalas de laboratorios, es de gran interés medir la potencia del eje rotatorio de la turbina, y para esto se utiliza un freno de fricción. Al aplicar presión sobre las zapatas del sistema de freno, mientras el eje de la turbina gira, se genera una fuerza de fricción que frena al eje de la turbina, esta energía no es completamente disipada por lo que la fuerza de fricción genera un momento torsor sobre la palanca del freno que en su extremo tiene una carga aplicada. Si la fuerza que se genera por el giro de la turbina se multiplica por la longitud de la palanca del freno, se obtienen la medida del momento torsor generado por la turbina [7].
En general, el análisis del funcionamiento de la turbina Pelton ha sido abordado desde hace más de un siglo desde su invención por Lester Pelton en 1889 [6]. La predicción del rendimiento de las máquinas hidráulicas, como la eficiencia y el comportamiento dinámico en diferentes condiciones operativas, es de gran interés para los fabricantes [1]. El diseño de la turbina Pelton puede centrarse en las dimensiones geométricas de sus elementos considerando condiciones de operación como carga hidráulica, el caudal disponible y las características del generador eléctrico, entre otras, y se ha investigado utilizando enfoques tanto numéricos como experimentales [15, 16].
La experimentación es el método más común para evaluar su desempeño, sin embargo, puede ser costosa y no proporciona información detallada de los parámetros locales [20]. Por ello, se han desarrollado métodos para reducir la complejidad en este proceso, siendo el más utilizado la Dinámica de Fluidos Computacional (CFD). La aplicación CFD permite modelar, mediante esquemas numéricos, el flujo másico y el momento de un flujo continuo para resolver diversos problemas de transferencia de calor y masa a partir de las ecuaciones de movimiento de Navier-Stokes [5]. Los resultados obtenidos de este análisis permiten obtener información detallada del flujo a nivel local para evaluar y optimizar la geometría de los diferentes elementos que componen el sistema, en el caso de la turbina, los álabes, rotor, boquilla, freno, etc. [12].
Cuando se aplica la CFD, para el investigador también es de mucho interés determinar cuál de los modelos aplicados en el análisis numérico son los más apropiados para reproducir resultados, es decir, para predecir el flujo turbulento en la cuchara y el inyector de una turbina hidráulica, mediante la CFD se recomienda utilizar el modelo de turbulencia k-ε estándar, el modelo RNG k-ε para la turbina de flujo cruzado, mientras que se sugiere el modelo SST k-ω para turbinas de hélice o de canal abierto como la Pelton [8]. Sin embargo, para conocer el buen comportamiento de estos modelos es necesario validar de forma parcial ciertos resultados obtenidos en las simulaciones con datos experimentales. En este sentido, Velázquez et al., [14] demostraron que el modelo de turbulencia SST k-ω genera resultados muy precisos según los experimentales, seguido por el modelo RNG k-ε, cuando se requiere predecir el perfil de los vórtices en una turbina hidráulica. Sinagra et al., [18] informaron que en el modelado numérico para el estudio de la eficacia de una turbina tipo Banki usando el modelo RNG k-ε se ajusta a resultados experimentales. Xinfeng et al., [11] determinaron que los resultados de la simularon numérica de la erosión de una turbina Pelton mediante el modelo de turbulencia SST K-ω estuvieron muy cerca de los resultados experimentales. A pesar de estos resultados falta mucho por investigar en turbinas hidráulicas.
Al respecto, en la presente investigación se desarrolla el estudio experimental y numérico del comportamiento del desempeño de una turbina Pelton en base a las prestaciones de salida (el torque). Durante el estudio numérico se aplican los modelos de turbulencia k-ε y SST con la finalidad de obtener mayor detalle sobre cuál de estos modelos es el más adecuado para predecir el comportamiento de los fenómenos que actúan en la dinámica del fluido. Para esto se construyen distintos modelos físicos de la turbina con porcentajes de aperturas de la boquilla del inyector de 100, 85, 75, 50, 25 y 15 %. También, se realizan pruebas experimentales utilizando la turbina Pelton FM-32 del Centro de Termodinámica y Mantenimiento de la Universidad de Oriente, con la finalidad de hacer un estudio de sensibilidad a cada malla del modelo numérico.
2. DESCRIPCIÓN DE LOS EXPERIMENTOS
En esta investigación las pruebas experimentales se realizaron en una unidad de demostración de turbina Pelton AMRFIELD FM32 y servicio FMSU ubicada en el Centro de Termofluidodinámica y Mantenimiento de la Universidad de Oriente.
2.1 Aparato Experimental
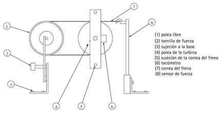
La turbina de la unidad AMRFIELD FM-32 se muestra en la Figura 1, consta de un prototipo de demostración tipo Pelton dentro de una carcasa transparente antisalpicaduras. El flujo de agua entra a la turbina a través de una válvula de aguja que tiene una boquilla de 4,5 mm de diámetro, equipada con un vástago de válvula ajustable para variar el diámetro del chorro con una pérdida mínima de fricción.
La unidad AMRFIELD FM-32 consta de un sensor piezo-eléctrico utilizado para medir la presión del flujo de agua en la entrada a la turbina, un sensor reflexivo-óptico para medir la velocidad del rotor de la turbina, una galga extensiométrica que incorpora un sistema de tensión utilizada para medir la fuerza aplicada al freno en el eje del rotor de la turbina, y una placa de orificio acoplada a un sensor de presión diferencial para determinar el caudal de entrada a la turbina. Las mediciones de las variables en estos sensores son fundamentales para determinar el torque y la fuerza al freno experimental.
2.2 Adquisición de Datos
Los sensores que incorpora la unidad AMRFIELD FM-32 se acoplan a un sistema de adquisición de datos (ver figura 2) desarrollado por González [21]. Para esto se realiza un estudio del voltaje de alimentación y de las señales de entrada y salida en cada uno de los sensores, así como también se procede al proceso de calibración y uso de patrones siguiendo la metodología descrita por Guzmán [13]. Posteriormente, se verifica que el sistema recibe las señales de los sensores y las procesa en una consola de interfase que digitaliza las señales y las convierte de analógicas a digital, para luego enviarlas a una PC, donde se generan los datos que muestran el comportamiento experimental de la turbina Pelton mediante el software LabVIEW.
2.3 Validación de Resultados Experimentales
Para realizar las pruebas experimentales se procedió a verificar el funcionamiento de la unidad AMRFIELD FM-32 y calibración de los sensores como lo sugiere Guzmán [13]. En esta etapa los datos experimentales se tomaron variando en cada caso el porcentaje de apertura de la boquilla del inyector de la turbina correspondiente a: 100 %, 85 %, 75 %, 50 %, 25 % y 15 % de apertura. Se revisaron las ecuaciones y gráficas que rigen el comportamiento de cada instrumento de medición.
Para determinar el buen funcionamiento y calibración de los sensores, así como la conexión de estos al sistema de adquisición de datos, se midieron los voltajes de salida de cada sensor con un osciloscopio (Instek OS-9020P, 20 MHz) y un multímetro digital, con el fin de registrar los rangos de voltaje arrojados por cada uno de ellos. Para verificar la calibración, se utilizaron instrumentos de medición como manómetros de mercurio, estroboscopio, dinamómetro, entre otros, con el objeto de hacer las mediciones de presión, velocidad angular y fuerza, respectivamente.
3. DESCRIPCIÓN DEL MODELO MATEMÁTICO
En el estudio se desarrolla el modelo numérico 3D de una turbina de impulso tipo Pelton Armfield FM-32 [3], y los resultados se comparan con datos experimentales del comportamiento del torque y fuerza al freno de la turbina.
3.1 Modelo Físico
En la Figura 3 se muestra el esquema del sistema de freno del estudio. El fluido de trabajo que impacta con las cucharas de la turbina Pelton, es controlado mediante un inyector, cuyo diámetro del tubo es de 6 mm y la salida total de la aguja es de 7,69 mm con respecto esté, además, el diámetro de la boquilla del inyector es de 4,5 mm y la longitud de salida de la aguja es de 5,77 mm. Las dimensiones de la carcasa se muestran en la Figura 4.
3.2 Base Matemática
▪ Ecuación de torque: El torque, se visualizó como una fuerza rotacional, la cual provoca la rotación de la rotación de la turbina. En la Figura 3 se observa que la fuerza (
▪ Ecuaciones de movimiento: Para flujo laminar estacionario de un fluido viscoso, newtoniano, incompresible y sin efectos de superficie libre, las ecuaciones de movimiento son las ecuaciones de continuidad:
y la ecuación de Navier-Stokes:
La ecuación (1) es de conservación de la masa, mientras que la ecuación 2 es la de transporte, que representa el transporte de cantidad de movimiento lineal en el dominio computacional. Las ecuaciones (2 y 3) se aplican solo a flujos incompresibles, en los que se supone que
Continuidad:
Cantidad de movimiento en x:
Cantidad de movimiento en y:
Cantidad de movimiento en z:
donde,
3.3 Modelos de Turbulencia
En la literatura se ha informado que los modelos de turbulencia k-ε y SST son los que más se ajustan a los resultados experimentales en el estudio de turbinas hidráulicas, razón por la que este estudio se centrara en estos [8, 11, 14, 18].
▪ Modelo de turbulencia k-ε: Es uno de los más prominentes modelos de turbulencia y es considerado un modelo industrial estándar, para propósitos de simulación. El modelo, ofrece un buen compromiso en términos de precisión y robustez. El modelo de turbulencia k-ε utiliza un acercamiento de la función de pared que mejora la robustez y la exactitud cuando la malla cercana a la pared es muy fina. La función de pared, permite una solución arbitraria en rejillas finas cercanas a la pared, que es una significativa mejora dentro de las funciones estándares de pared. Este modelo es semiempírico de dos ecuaciones que se basa en la ecuación de la energía cinética de turbulencia k, que representa las fluctuaciones de la velocidad, y en la ecuación de la razón de disipación ε, es la disipación turbulenta de torbellino (la razón con la cual las fluctuaciones de velocidad se disipan), como se muestra a continuación [22]:
donde
▪ Modelo de turbulencia SST: Este modelo fue desarrollado y descrito por Menter en 1994, el cual trata de conseguir una mezcla entre la precisa y robusta formulación del modelo k-ω en la zona cercana a la pared y los buenos resultados que da el modelo k-ε en la zona interior del campo fluido [10]. Asimismo, el modelo de turbulencia k-ω SST, es un modelo de transporte de la tensión de cizallamiento (SST), usa la formulación k-ω en las partes interiores de la capa límite, lo cual hace que el modelo sea utilizable en toda la trayectoria hacia abajo de la pared, a través de la sub-capa viscosa, por lo tanto, el modelo k-ω SST puede ser utilizado como un bajo número de Reynolds modelo de turbulencia y sin ninguna función de amortiguación adicionales. La formulación SST, también cambia a un comportamiento k-ε en la corriente libre y por lo tanto evita el problema k-ω común. El modelo es muy sensible a las propiedades de la turbulencia de entrada libre de flujo.
Los autores que utilizan el modelo k-ω SST a menudo lo recomiendan, por su buen comportamiento en los gradientes de presión adversos y separación de flujo. El modelo k-ω SST produce grandes niveles de turbulencia en las regiones con una variedad normal, al igual que las regiones de estancamiento y regiones con una fuerte aceleración. Esta tendencia es mucho menos pronunciada que con un modelo normal k-ε. Las ecuaciones de transporte para k y ω se detallan a continuación:
Ecuación para
Ecuación para
donde,
3.4 Modelo Geométrico y Mallado
Se diseñó la geometría del modelo computacional en 3D de la turbina tipo Pelton con un software CAD. Las dimensiones de la carcasa, la cuchara, rueda motriz, aguja del inyector, diámetro de tubo, longitud total de la aguja y el diámetro de la boquilla del inyector fueron tomadas experimentalmente de la turbina Pelton Armfield FM-32 ubicada en el Centro de Termofluidodinámica y Mantenimiento de la Universidad de Oriente. La geometría fue exportada al software de análisis de CFD como muestra en la Figura 5.
El mallado de la turbina Pelton se realizó con el método Lagrangiano, se establecieron los parámetros de la función de tamaño avanzado en las zonas de curvaturas, se consideró la función de transición como baja y una resolución angular de 35º. Se realizó un refinamiento de la malla en el modelo físico variando el tamaño mínimo de aristas para generar una mayor densidad de malla, produciendo un mejor alcance en el lugar de estudio. La malla de la turbina Pelton se generó para seis (6) porcentajes de aperturas de la boquilla del inyector: 100 %, 85 %, 75 %, 50 %, 25 % y 15 %, como se muestra en la Tabla 1. Se realizó un análisis de sensibilidad para cada caso de estudio, comparando con resultados experimentales de la presión estática en la turbina Pelton FM-32.
3.5 Condiciones de Simulación
La simulación se realizó con una sola cuchara debido a que éstas poseen las mismas dimensiones y se asumió que el resultado sería el mismo en el resto de las cucharas, esto para ahorrar tiempo computacional. Para configurar las propiedades del dominio y las regiones o límites que representan las fronteras de estudio, se seleccionó como tipo de dominio el fluido agua y se definieron las propiedades físicas de la misma. La configuración de la simulación fue en estado transitorio, con una duración de tiempo total de 1 s y un paso de tiempo de 0,001 s, previamente se realizaron pruebas para distintos tiempos y los resultados fueron muy parecidos.
Se establecieron como modelos de turbulencia el k-ε y SST, esto para verificar cuál de dichos modelos representa mejor las condiciones de estudio. Se estableció la entrada del volumen de control como un régimen de flujo de fluido subsónico, en masa y momento se estableció la presión estática la cual fue distinta para cada apertura como se muestra en la Tabla 2. Dichos valores fueron tomados de resultados experimentales de la turbina Pelton FM-32.
TABLA 2 - PRESIONES PARA LOS DIFERENTES PORCENTAJES DE APERTURA
| Apertura (%) | ||||||
| 15 | 25 | 50 | 75 | 85 | 100 | |
| Presión estática (kPa) | 265,83 | 254,91 | 233,81 | 220,62 | 218,04 | 215,04 |
En la configuración básica se estableció las zonas que representan a los alrededores en la geometría, y en el tipo de borde se seleccionó la opción pared de no deslizamiento. En el dominio de salida se estableció el tipo de condición de borde como apertura, debido a que existe intercambio de flujo en dicha frontera, un régimen de fluido subsónico, en masa y momento se estableció la presión de apertura de 0 Pa y una intensidad de turbulencia media (médium intensity) = 5 %. Dichas condiciones fueron establecidas para cada porcentaje de apertura y para los modelos de turbulencia k-ε y SST. Como criterio de convergencia se escogió un error de 1x10-4, el cual fue el valor del error aceptable en la simulación.
4. RESULTADOS Y DISCUSIÓN
4.1 Convergencia Numérica
Se obtuvieron las curvas de la convergencia numérica en la simulación del chorro de agua que impacta con las cucharas de la turbina Pelton, esto para evaluar que las variables del proceso consiguieran la estabilidad en función del tiempo. En la Figura 6 se muestra el comportamiento de convergencia de las curvas de turbulencia y momento y masa para un porcentaje de apertura del inyector de 75 %, y en la Figura 7 se presenta de igual manera para un porcentaje de apertura del inyector de 15 %, ambas Figuras representan el modelo k-ε.
Del mismo modo, para el modelo SST se evaluó el comportamiento de convergencia, en la Figura 8 se muestra las curvas de turbulencia y momento y masa para un porcentaje de apertura del inyector de 75 %, y la Figura 9 para un porcentaje de apertura del inyector del 15 %.
Se puede observar en las Figuras 6, 7, 8, y 9, las mayores y menores estabilidades que se presentaron durante la evaluación de las simulaciones numéricas. Las curvas de convergencias correspondientes a los porcentajes de aperturas 100 %, 85 %, 50 % y 25 % que no se muestran en la investigación, se mantuvieron dentro del comportamiento antes mostrado. De tal manera, que todas las curvas de convergencia obtenidas en este trabajo reflejaron una tendencia estable, y mantuvieron un error residual en estado transitorio menor a 1x10-4, a excepción de la curva momento y masa del modelo k-ε que para una apertura de 15 % (Figura 7) la variable no alcanzó converger por debajo del error establecido, sin embargo, el modelo SST si obtuvo la convergencia de todas las variables estudiadas. También se puede observar en las Figuras 6 y 8 que la mayor estabilidad del flujo se generó para los porcentajes de apertura de 75 % en ambos modelos (k-ε y SST), y la mayor turbulencia se presentó para el porcentaje de apertura de 15 % (según Figuras 7 y 9) en ambos modelos.
4.2 Comportamiento Experimental del Torque y la Fuerza al Freno de la Turbina Pelton
Se realizaron pruebas experimentales variando el porcentaje de apertura de la válvula de aguja que regula el flujo de agua que entra a la turbina. Se establecieron seis (6) casos, correspondientes a los porcentajes de apertura de: 100 %, 85 %, 75 %, 50 %, 25 % y 15 %. Las variables que fueron medidas son: la presión en la tubería de admisión (Pa), la velocidad angular de la turbina (Hz), la fuerza de freno (N) y la diferencia de presión en la placa orificio (Pa). Por medio de estas se determina el torque y el caudal.
Los porcentajes de apertura de la válvula que regula el caudal se determinó mediante una regla de tres, se estableció que para la apertura de 100 % la válvula se encuentra totalmente abierta, y dicha válvula tiene un total de 8 vueltas y media. Con ello se determinaron los diferentes porcentajes de aperturas del inyector, como se muestra en la Tabla 3.
TABLA 3 - NÚMERO DE VUELTAS DE LA VÁLVULA Y PORCENTAJES DE APERTURA
| No. de vueltas | Apertura (%) |
| 0 | 100 |
| 1,3 | 85 |
| 2,1 | 75 |
| 4,3 | 50 |
| 6,4 | 25 |
| 7,2 | 15 |
Las variables determinadas experimentalmente se muestran en la Tabla 4, donde se visualiza que, a diferentes porcentajes de apertura de la válvula, la presión en la tubería aumento a medida que se cerró la boquilla del inyector, este comportamiento se debe a la disminución del área de paso por dicha boquilla. La velocidad angular se mantuvo casi constante debido a que la prueba se realizó en estado estacionario (la turbina estaba frenada), por lo tanto el comportamiento de la velocidad angular no debió variar a lo largo de la práctica; sin embargo esta fluctúo por efecto del impacto constante del chorro de agua. Por su parte, la fuerza al freno disminuyó a medida que se fue cerrando la boquilla del inyector. Dicho comportamiento es lógico ya está depende del área de paso y la presión, y dicha fuerza fue decreciendo a medida que se fue cerrando la boquilla del inyector.
El torque experimental fue calculado mediante la ecuación (1) para cada porcentaje de apertura de la válvula, como se muestra en la Tabla 5, donde se observa que a medida que se fue cerrando la válvula el torque fue disminuyendo por ser directamente proporcional a la fuerza de impacto. Sin embargo, se visualizó que los mayores torques se obtuvieron para las aperturas de 75 % y 85 %. Teóricamente se sabe que el mayor rendimiento en este tipo de máquinas se consigue entre los porcentajes de aperturas mencionados, al respecto, se puede indicar que los resultados experimentales representan mantuvieron un buen comportamiento.
4.3 Comportamiento Numérico y Experimental del Torque y la Fuerza al Freno
Los resultados numéricos de la fuerza al freno, el torque y el tiempo de convergencia para los porcentajes de apertura de la boquilla del inyector de 100 %, 85 %, 75 %, 50 %, 25 % y 15 %, se muestran en la Tabla 6. Se puede observar que las mayores fuerzas al freno se obtuvieron en los porcentajes de apertura de 85 %, donde el modelo k- ε obtuvo un valor de 5,8882 N y para la apertura de 100 %, el modelo SST obtuvo un valor de 5,8848 N. A su vez las mayores torques se obtuvieron en los mismos porcentajes de aperturas, ya que el mismo es directamente proporcional a la fuerza al freno, los cuales generaron valores de 0,1413 N.m y 0,1412 N.m respectivamente.
TABLA 4 - VARIABLES EXPERIMENTALES DE LA TURBINA PELTON
| Condiciones de estudio | ||||
| Nro. de casos | Presión (Pa) | Velocidad (Hz) | Fuerza al freno (N) | Diferencial de presión (Pa) |
| 1 | 216.099 | 8,6279 | 5,61148 | 456.703 |
| 2 | 216.989 | 8,6852 | 5,63688 | 456.703 |
| 3 | 220.629 | 8,5131 | 5,64744 | 456.703 |
| 4 | 233.811 | 8,7999 | 5,2890 | 456.703 |
| 5 | 254.919 | 8,7999 | 3,11799 | 456.703 |
| 6 | 265.837 | 8,6852 | 2,8841 | 456.703 |
TABLA 5 - NÚMERO DE VUELTAS DE LA VÁLVULA Y PORCENTAJES DE APERTURA
| Apertura (%) | Torque (N.m) |
| 100 | 0,135 |
| 85 | 0,136 |
| 75 | 0,136 |
| 50 | 0,130 |
| 25 | 0,075 |
| 15 | 0,053 |
TABLA 6 - RESULTADOS EXPERIMENTAL Y DE SIMULACIÓN DE LA TURBINA PELTON
| Características | Apertura (%) | |||||
| 100 | 85 | 75 | 50 | 25 | 15 | |
| Convergencia Modelo k-ε (Hrs:min:seg) | 05:54:24 | 05:13:24 | 05:15:07 | 05:23:13 | 05:12:02 | 10:43:27 |
| Convergencia Modelo SST (Hrs:min:seg) | 05:54:14 | 05:54:46 | 05:51:23 | 06:02 | 05:50:48 | 05:58:54 |
| Fuerza (N) Modelo k-ε | 5,50753 | 5,88823 | 5,83098 | 5,83481 | 3,26305 | 2,12873 |
| Fuerza (N) Modelo SST | 5,88477 | 5,57236 | 5,57796 | 5,20998 | 3,02986 | 2,14022 |
| Fuerza (N) Experimental | 5,61148 | 5,63688 | 5,64744 | 5,2890 | 3,11799 | 2,8841 |
| Torque (N.m) Modelo k-ε | 0,13218 | 0,14132 | 0,13994 | 0,14004 | 0,07831 | 0,05109 |
| Torque (N.m) Modelo SST | 0,14123 | 0,13374 | 0,13387 | 0,12504 | 0,07272 | 0,05136 |
| Torque (N.m) Experimental | 0,13467 | 0,13568 | 0,13553 | 0,13029 | 0,07483 | 0,05252 |
Los tiempos de cómputos empleados para dichos porcentajes de aperturas se mantuvieron aproximadamente en 5 horas a excepción de la apertura de 15 % en el modelo k-ε que tardó 11 horas aproximadamente. Esta apertura inicialmente presento problemas de sobre flujo cuando se inició la simulación, posiblemente este fue uno de los motivos que generó un mayor tiempo de análisis, lo cual trajo como consecuencia que la variable masa no consiguiera la estabilidad en función del tiempo para dicho porcentaje. También se pudo notar que el comportamiento del chorro de agua para este porcentaje de apertura presento mayores turbulencias en comparación con el resto de los porcentajes de apertura.
En las Figuras 10 y 11 se observan las curvas de los resultados experimentales y las simulaciones numéricas del torque y la fuerza al freno, para los distintos porcentajes de apertura de la válvula. Se observa que la mayor fuerza y torque experimental fueron de 5,64744 N y 0,13553 N.m en la apertura de 75 %, y la menor fuerza de freno y torque fue de 2,18841 N y 0,05252 N.m en la apertura de 15 % respectivamente.
Al visualizar el torque y la fuerza al freno obtenidos con dichos modelos, se aprecia que la mayor fuerza y torque se generaron en los porcentajes de aperturas de 85 % y 100 % de los modelos k-ε y SST respectivamente, con valores de 5,88823 N; 0,14132 N.m (modelo k-ε) y 5,88477 N; 0,14123 N.m (modelo SST) y la menor fuerza de freno y torque se generó en la apertura de 15 % en ambos modelos de turbulencia con valores de 2,12873 N; 0,05109 N.m y 2,14022 N; 0,05136 N.m respectivamente, este comportamiento es aceptable ya que al reducir el chorro de agua existe menor presión y por lo tanto la fuerza y el torque disminuyen como se reflejó en las curvas.
4.4 Cálculo del Porcentaje de Error de los Resultados Numéricos
El porcentaje de error relativo se calculó con el torque para los distintos porcentajes de apertura de la boquilla del inyector como se muestra en la Tabla 7. Se obtuvo que el mayor error generado mediante el modelo k-ε fue de aproximadamente 8 % en la apertura de 50 % y el mayor error en el modelo SST fue de aproximadamente 5 % para el porcentaje de apertura de 100 %, también se pudo determinar que los errores del modelo k-ε fueron mayores que los del modelo SST.
En consecuencia, se obtuvo una mejor estimación de las variables con el modelo SST, lo que representa una mayor confiabilidad y exactitud en los resultados obtenidos con dicho modelo, ya que éste tiene la virtud de trabajar con altos y bajos números de Reynolds evaluando más acertadamente los cambios turbulentos que el flujo presenta en las distintas zonas de la turbina.
5. CONCLUSIONES
Se obtuvo un modelo numérico que describe el comportamiento del torque y la fuerza al freno de una turbina tipo Pelton para las aperturas de 100, 85, 75, 50, 25 y 15 % en la boquilla del inyector. El modelo se basó en los modelos de turbulencia k-ε y SST, donde el primero tuvo el mayor tiempo de convergencia respecto al segundo, y este último mostró ser más estable y fue el que se adaptó mejor al tipo de estudio.
Al comparar los resultados del torque de las simulaciones numéricas con los experimentales, se determinó que el menor porcentaje de error relativo (1,85 %) del modelo de turbulencia K-ε fue para la apertura de 100 %, y para el modelo SST el menor porcentaje de error relativo (1,14 %) fue para la apertura de 85 %, lo que contrasta teóricamente, que el mayor rendimiento de este tipo de turbinas se consigue con aperturas entre 75 % y 85 %. En general, los errores relativos del modelo k-ε fueron mayores que los del modelo SST, obteniéndose una mejor estimación de las variables con este último, lo que representa una mayor confiabilidad y exactitud en los resultados.
























